Η Apple φαίνεται να εξετάζει το ζήτημα της διόγκωσης της μπαταρίας που επηρεάζει περιστασιακά τις παλαιότερες μπαταρίες των iPhone της. Η εταιρεία έχει καταθέσει δύο νέα διπλώματα ευρεσιτεχνίας που περιγράφουν ένα νέο σύστημα που μπορεί να εντοπίσει το πρόβλημα της διόγκωσης της μπαταρίας στα αρχικά του στάδια.

Σύμφωνα με μια έκθεση του AppleInsider, η Apple σχεδιάζει να αντιμετωπίσει το ζήτημα εντοπίζοντας τα πρώτα σημάδια του. Τα δύο διπλώματα ευρεσιτεχνίας σχετίζονται με τη μείωση του μεγέθους της συσκευής, ενώ ταυτόχρονα επιτρέπει την ανίχνευση διόγκωσης της μπαταρίας. Και οι δύο τεχνολογίες θα συμβαδίζουν και θα συνεργάζονται για ένα μικρότερο ακουστικό που μπορεί να εγγυηθεί την ασφάλεια των χρηστών. Οι τεχνολογίες θα είναι επίσης ένα σημαντικό μέρος των στόχων της εταιρείας να επιτύχει στη δημιουργία μικρότερων συσκευών που οι χρήστες μπορούν να μεταφέρουν ή να φορούν καθημερινά.
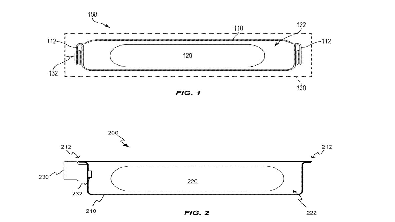
Έτσι, το δίπλωμα ευρεσιτεχνίας φτάνει ως μέσο για να διασφαλίσει ότι μπορεί να επιτύχει τον στόχο του χωρίς συμβιβασμούς στην ασφάλεια, καθώς η μείωση του μεγέθους του περιβλήματος της μπαταρίας θα πρέπει επίσης να λαμβάνει υπόψη το ζήτημα διόγκωσης της μπαταρίας. Το “πρήξιμο” της μπαταρίας είναι ένα πρόβλημα που μαστίζει κάθε είδος κυττάρου που χρησιμοποιεί τη σχεδίαση ιόντων λιθίου. Ως εκ τούτου, η Apple εργάζεται για την τοποθέτηση στοιχείων που περιβάλλουν την μπαταρία. Αυτό το νέο σύστημα θα επέτρεπε τότε μεγαλύτερες συσκευές στο περίβλημα συσκευών χωρίς να καταστρέψει άλλα μέρη.

Επιπλέον, η ευρεσιτεχνία περιγράφει επίσης τη χρήση ενός μεταλλικού κελύφους που θα τοποθετηθεί γύρω από το περίβλημα της μπαταρίας. Αυτό θα γειωθεί και θα επιτρέψει τη συσκευασία εξαρτημάτων πλησιέστερα στην μπαταρία, γεγονός που θα μειώσει τις πιθανότητες ζημιάς σε τέτοια εξαρτήματα ακόμα και αν η μπαταρία διογκωθεί. Το δεύτερο δίπλωμα ευρεσιτεχνίας περιγράφει τη χρήση πολλαπλών λύσεων για τον εντοπισμό και τον μετριασμό της διόγκωσης της μπαταρίας. Εκτός από την απλή ανίχνευση, το σύστημα θα μπορούσε να χρησιμοποιήσει έναν επεξεργαστή για να καθορίσει καλύτερα πώς να επιβραδύνει την επέκταση ή ακόμη και να την αποτρέψει. Δυστυχώς, αυτή τη στιγμή είναι ένα δίπλωμα ευρεσιτεχνίας, οπότε υπάρχει ακόμη λίγος χρόνος για να δούμε αυτήν την τεχνολογία να χρησιμοποιείται.
[signoff]
